GÔNG TỪ KIỂM TRA KHUYẾT TẬT MỐI HÀN KIM LOẠI
GÔNG TỪ KIỂM TRA KHUYẾT TẬT MỐI HÀN KIM LOẠI
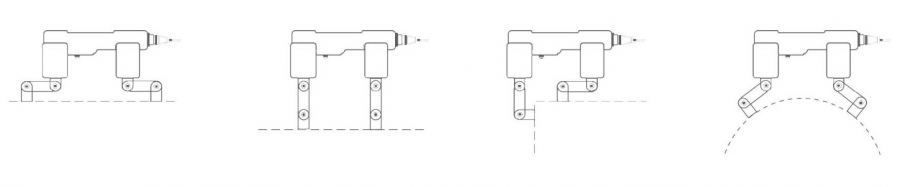
• Là thiết bị kiểm tra bằng phương pháp từ tính thuộc loại cầm tay được thiết kế để kiểm tra khuyết tật trên bề mặt hoặc dưới bề mặt vật liệu sắt từ.
• Thiết bị nhẹ, đa năng, hiệu suất cao. Có thể chuyển đổi dòng AC và DC.
• Ứng dụng để phát hiện các khuyết tật bề mặt hay dưới bề mặt. Khả năng xuyên sâu 3mm tính từ bề mặt
• Có thể áp dụng phương pháp từ trường liên tục hoặc từ dư và có thể dùng để khử từ.
• Sử dụng bột từ khô, ướt, phát quang hoặc khả kiến.
• Vỏ thiết bị được đúc chắc chắn
• Sử dụng dòng điện thế 1pha 230 VAC, cường độ dòng 3A
• Thiết bị nhẹ, đa năng, hiệu suất cao. Có thể chuyển đổi dòng AC và DC.
• Ứng dụng để phát hiện các khuyết tật bề mặt hay dưới bề mặt. Khả năng xuyên sâu 3mm tính từ bề mặt
• Có thể áp dụng phương pháp từ trường liên tục hoặc từ dư và có thể dùng để khử từ.
• Sử dụng bột từ khô, ướt, phát quang hoặc khả kiến.
• Vỏ thiết bị được đúc chắc chắn
• Sử dụng dòng điện thế 1pha 230 VAC, cường độ dòng 3A
Giá bán: Liên hệ
SẢN PHẨM CÙNG LOẠI
';













