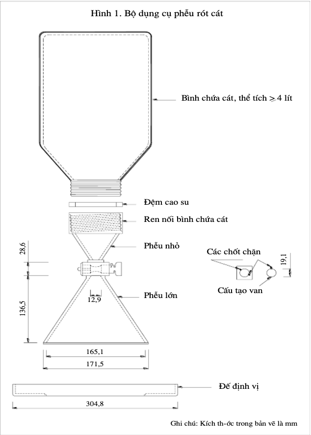
PHỄU RÓT CÁT HIỆN TRƯỜNG BẰNG NHÔM
PHỄU RÓT CÁT HIỆN TRƯỜNG BẰNG NHÔM
Xuất xứ: Việt Nam
Chất liệu: Nhôm nguyên khối, có khe nhìn lưu lượng cát bằng mica
Bộ bao gồm:
- Bình chuẩn 5 Lít
- Phễu tiêu chuẩn
- Tấm rung trọng
- Búa đóng
- Đinh ghim
- Đục lỗ
- Túi đựng
Xuất xứ: Việt Nam
Chất liệu: Nhôm nguyên khối, có khe nhìn lưu lượng cát bằng mica
Bộ bao gồm:
- Bình chuẩn 5 Lít
- Phễu tiêu chuẩn
- Tấm rung trọng
- Búa đóng
- Đinh ghim
- Đục lỗ
- Túi đựng
Giá bán: Liên hệ
SẢN PHẨM CÙNG LOẠI
';












